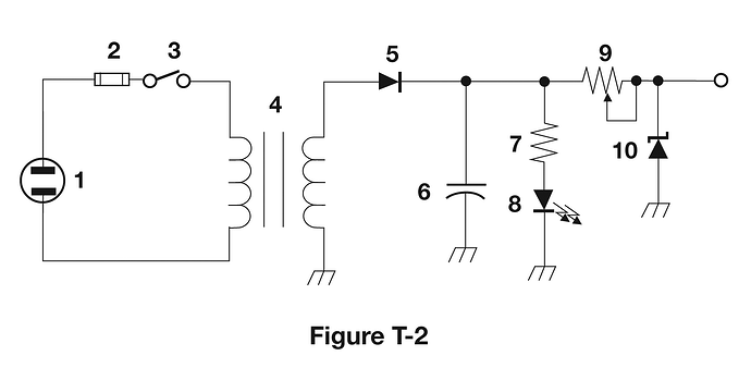
Question
What is component 6 in figure T-2?
Answer Options
- A) Resistor
- B) Capacitor
- C) Regulator IC
- D) Transistor
Correct Answer: B
Explanation
The components here are:
- Power
- Fuse
- Single-pole single-throw Switch
- Transformer
- Diode
- Polarized (e.g. Electrolytic) capacitor
- Resistor
- Light-Emitting Diode (LED)
- Variable Resistor (Potentiometer)
- Zener Diode
This topic was automatically created to facilitate community discussion about this exam question. Feel free to share study tips, memory tricks, or additional explanations!
